资讯
你的位置:Kaiyun网页版·「中国」开云官方网站 登录入口 > 资讯 > 开云体育(中国)官方网站对平素野心无要紧影响-Kaiyun网页版·「中国」开云官方网站 登录入口
开云体育(中国)官方网站对平素野心无要紧影响-Kaiyun网页版·「中国」开云官方网站 登录入口
发布日期:2025-12-09 09:06 点击次数:144
上海洗霸公告开云体育(中国)官方网站,公司员工代表董事潘阳阳和副总裁索威均因涉嫌短线交往收到行政措置事前奉告书。2024年7月9日至2025年8月11日,潘阳阳累计买入103300股,成交328.62万元;累计卖出140500股,成交685.69万元,拟被申饬并处10万元罚金。2024年11月14日至2025年8月11日,索威累计买入143600股,成交572.13万元;累计卖出172800股,成交838.13万元,拟被申饬并处15万元罚金。本次措置不波及公司,对平素野心无要紧影响。
举报 第一财经告白配合,请点击这里此履算作第一财经原创,文章权归第一财经所有。未经第一财经籍面授权,不得以任何姿色加以使用,包括转载、摘编、复制或配置镜像。第一财经保留根究侵权者法律职守的权益。如需得到授权请相干第一财经版权部:banquan@yicai.com 相干阅读
华新水泥本日跌停,有3家机构专用席位净卖出1.77亿元华新水泥本日跌停,有3家机构专用席位净卖出1.77亿元
0 07-25 17:01
天王人锂业本日涨停,方新侠席位净买入7610.2万元天王人锂业本日涨停,方新侠席位净买入7610.2万元
0 07-24 16:44
13家上市公司股票获回购,古越龙山回购金额最高13家上市公司股票获回购,古越龙山回购金额最高
0 07-17 22:05
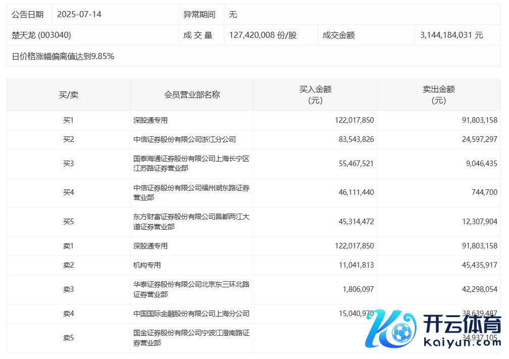
楚天龙本日涨停 一机构席位净卖出3439.41万元楚天龙本日涨停 一机构席位净卖出3439.41万元
0 07-14 16:27
主力本日尾盘商业这些个股开云体育(中国)官方网站主力本日尾盘商业这些个股
0 07-14 16:09 一财最热 点击关闭